Product Documentation
Spectre Circuit Simulator Components and Device Models Reference
Product Version 23.1, June 2023

Model Concepts

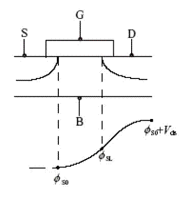
Figure -1 Schematic of the surface potential distribution in the channel

The figure shows the schematic of the surface potential distribution in the channel. To obtain analytical solutions for describing device performances, the charge sheet approximation of the inversion layer with zero thickness has been introduced. Together with the gradual-channel approximation all device characteristics are then described analytically by the channel-surface potentials at the source side (φS0) and at the drain side (φSL). These surface potentials are functions of applied voltages on the four MOSFET terminals; the gate voltage Vg, the drain voltage Vd, the bulk voltage Vb and the reference potential of the source Vs. This is the long-channel basis of the HiSIM model, and extensions of the model approximations are done for advanced technologies. All newly appearing phenomena such as short-channel and reverse-short-channel effects are included in the surface potential calculations causing modifications resulting from the features of these advanced technologies.


Return to top
 ⠀
X